您所在的位置:首页 > 产品中心 > 火工品草莓视频污在线播放产品 > HGY-1A型火焰感度仪

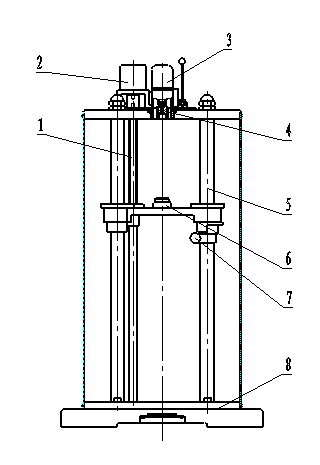
l 1 丝杠 2 步进电机 3 点火装置4 药柱模 5-立柱 6 试样模 7 锁紧旋钮 8底座
l 起爆药、击发药、点火药、烟火药、烟花爆竹药剂等药剂的定量试样,受一定的火焰作用,观察其是否发火,计算其50%发火高度,即为火焰感度值。
l 药柱模中心线对托盘试样座中心线的不同轴度不大于R0.5mm;
l 两立柱对底座上平面的不垂直度在630毫米内不大于0.25mm;
l 底座上平面与顶盖上平面的不平行度不大于0.15mm,其不平行度由平行度调整垫调 整;
l 可以采用多种点火源:黑药柱,导火索;
l 最大试验高度不小于550mm;
l 仪器重约70Kg,外型尺寸:约450×350×792mm;
l 操作采用自动控制,全触摸操作,操作安全方便;
苏公网安备32010402000796号
微信公众号